Location

Connector P/N

ENG_CTRL_DASH_O_ECU_CPC3E_4A

A23-13361-015


Important Information

When preparing to order terminals and seals, please check Paragon first to see if the part number exists within that system.

If the part number does not exist within Paragon, then it is not a production part. In this case, a different part number should be used.

------ ------ ------ ------ ------ ------

When clicking on the part number links on this page, you will be brought to the Daimler Excelerator parts web site...

If available on that site, the part will be shown.


Connector Part Number

Color

Terminal Part Numbers

Plug Part Number

Can Mate To

A23-13361-015

 

Connector:

23-13151-042

 

Connector:

23-13151-041

 

Connector Cover:

23-13304-311

Black

23-13208-080

(20 GA) Female (Tin)


23-13208-081

(20 GA) Female (Gold)


23-13208-082

(20 GA) Female (Silver)


23-13208-083

(22 GA) Female (Tin)


23-13208-084

(22 GA) Female (Silver)

N/A N/A

A23-13361-015

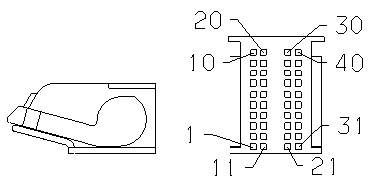
Connector Cavities

Fem MQS

20TXL

 

CBL.OD.MM: 0.9-1.9

1, 2, 3, 4, 5, 6,

7, 8, 9, 10, 11,

12, 13, 14, 15, 16,

17, 18, 19, 20, 21,

22, 23, 24, 25, 26,

27, 28, 29, 30, 31,

32, 33, 34, 35, 36,

37, 38, 39, 40


TYP TERM

23-13208-080

23-13208-081

23-13208-082

23-13208-083

23-13208-084


23-13208-080

(20 GA) Female (Tin)


23-13208-081

(20 GA) Female (Gold)


23-13208-082

(20 GA) Female (Silver)


23-13208-083

(22 GA) Female (Tin)


23-13208-084

(22 GA) Female (Silver)


23-13304-318

(Connector Cover)


Important Information

When preparing to order terminals and seals, please check Paragon first to see if the part number exists within that system.

If the part number does not exist within Paragon, then it is not a production part. In this case, a different part number should be used.

------ ------ ------ ------ ------ ------

When clicking on the part number links on this page, you will be brought to the Daimler Excelerator parts web site...

If available on that site, the part will be shown.


Connector Part Number

Color

Terminal Part Numbers

Plug Part Number

Can Mate To

23-13151-042

 

Connector Cover:

23-13304-311

 

Connector Cover:

23-13304-330

Gray

23-13208-080

(20 GA) Female (Tin)


23-13208-081

(20 GA) Female (Gold)


23-13208-082

(20 GA) Female (Silver)


23-13208-083

(22 GA) Female (Tin)


23-13208-084

(22 GA) Female (Silver)

N/A N/A

23-13151-042

Connector Cavities

Fem MQS

20TXL

 

CBL.OD.MM: 0.9-1.9

1, 2, 3, 4, 5, 6, 7,

8, 9, 10, 11, 12,

13, 14, 15, 16, 17,

18, 19, 20


TYP TERM

23-13208-080

23-13208-081

23-13208-082

23-13208-083

23-13208-084


23-13208-080

(20 GA) Female (Tin)


23-13208-081

(20 GA) Female (Gold)


23-13208-082

(20 GA) Female (Silver)


23-13208-083

(22 GA) Female (Tin)


23-13208-084

(22 GA) Female (Silver)


23-13304-311

(Connector Cover)


23-13304-330

(Connector Cover)

 


Important Information

When preparing to order terminals and seals, please check Paragon first to see if the part number exists within that system.

If the part number does not exist within Paragon, then it is not a production part. In this case, a different part number should be used.

------ ------ ------ ------ ------ ------

When clicking on the part number links on this page, you will be brought to the Daimler Excelerator parts web site...

If available on that site, the part will be shown.


Connector Part Number

Color

Terminal Part Numbers

Plug Part Number

Can Mate To

23-13151-041

 

Connector Cover:

23-13304-311

 

Connector Cover:

23-13304-330

Black

23-13208-080

(20 GA) Female (Tin)


23-13208-081

(20 GA) Female (Gold)


23-13208-082

(20 GA) Female (Silver)


23-13208-083

(22 GA) Female (Tin)


23-13208-084

(22 GA) Female (Silver)

N/A N/A

23-13151-041

Connector Cavities

Fem MQS

20TXL

 

CBL.OD.MM: 0.9-1.9

1, 2, 3, 4, 5, 6, 7,

8, 9, 10, 11, 12,

13, 14, 15, 16, 17,

18, 19, 20, 21, 22,

23, 24, 25, 26, 27,

28, 29, 30, 31, 32


TYP TERM

23-13208-080

23-13208-081

23-13208-082

23-13208-083

23-13208-084


23-13208-080

(20 GA) Female (Tin)


23-13208-081

(20 GA) Female (Gold)


23-13208-082

(20 GA) Female (Silver)


23-13208-083

(22 GA) Female (Tin)


23-13208-084

(22 GA) Female (Silver)


23-13304-311

(Connector Cover)


23-13304-330

(Connector Cover)

 


23-13304-311

(Connector Cover)