Location

Connector P/N

DASH_H_PDM_VPDM_EXT_J9_1A

23-14549-023


Important Information

When preparing to order terminals and seals, please check Paragon first to see if the part number exists within that system.

If the part number does not exist within Paragon, then it is not a production part. In this case, a different part number should be used.

------ ------ ------ ------ ------ ------

When clicking on the part number links on this page, you will be brought to the Daimler Excelerator parts web site...

If available on that site, the part will be shown.


Connector Part Number

Color

Terminal Part Numbers

Seal Part Number

Plug Part Number

Can Mate To

23-14549-023

 

Back Shell (Lever Lock):

23-13302-627

Black

23-13214-840

(22 GA) (Tin)


23-13214-841

(18-20 GA) (Tin)


23-13214-842

(18-20 GA) (Gold)


23-13214-843

(22 GA) (Gold)


23-13214-844

(22 GA) (Silver)


23-13214-845

(18-20 GA) (Silver)


23-13214-860

(22 GA) (Tin)


23-13214-861

(16-20 GA) (Tin)


23-13214-862

(14-16 GA) (Tin)


23-13214-863

(16-20 GA) (Silver)


23-13214-864

(14-16 GA) (Silver)


23-13214-865

(12 GA) (Tin)


23-13214-867

(22 GA) (Silver)

N/A

23-13218-030


23-13218-071

Exterior VPDM


23-14549-023

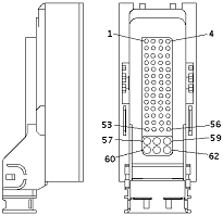
Connector Cavities

Series: CTS1.5S

Gender: Female

 

CBL OD (MM): 1.2 - 2.2

1, 2, 3, 4, 5, 6, 7, 8, 9,

10, 11, 12, 13, 14, 15,

16, 17, 18, 19, 20, 21,

22, 23, 24, 25, 26, 27,

28, 29, 30, 31, 32, 33,

34, 35, 36, 37, 38, 39,

40, 41, 42, 43, 44, 45,

46, 47, 48, 49, 50, 51,

52, 53, 54, 55, 56


23-13214-840

23-13214-841

23-13214-842

23-13214-843

23-13214-844

23-13214-845

Series: CTS2.8S

Gender: Female

 

CBL OD (MM): 1.2 - 3.0

57, 58, 59, 60, 61, 62


23-13214-860

23-13214-861

23-13214-862

23-13214-863

23-13214-864

23-13214-865

23-13214-867


23-13214-840

(22 GA) (Tin)


23-13214-841

(18-20 GA) (Tin)


23-13214-842

(18-20 GA) (Gold)


23-13214-843

(22 GA) (Gold)


23-13214-844

(22 GA) (Silver)


23-13214-845

(18-20 GA) (Silver)


23-13214-860

(22 GA) (Tin)


23-13214-861

(16-20 GA) (Tin)


23-13214-862

(14-16 GA) (Tin)


23-13214-863

(16-20 GA) (Silver)


23-13214-864

(14-16 GA) (Silver)


23-13214-865

(12 GA) (Tin)


23-13214-867

(22 GA) (Silver)


23-13218-030

(Cavity Seal - Silicon Plastic, White)


23-13218-071

(Cavity Plug, White)


23-13302-627

(Back Shell, Lever Lock)