Important Information

When preparing to order terminals and seals, please check Paragon first to see if the part number exists within that system.

If the part number does not exist within Paragon, then it is not a production part. In this case, a different part number should be used.

------ ------ ------ ------ ------ ------

When clicking on the part number links on this page, you will be brought to the Daimler Excelerator parts web site...

If available on that site, the part will be shown.


Connector Part Number

Color

Terminal Part Numbers

Seal Part Number

Plug Part Number

Can Mate To

23-14549-020

 

Back Shell (Lever Lock):

23-13302-628

Black

23-13214 23-12497

23-13218-030


23-13218-071


23-13218-007

Exterior VPDM

 

** Note: The terminal & seal part numbers for this connector do not have a dash number (I.E. -025, -043, etc.), because this was not the method of documentation at the time this connector was documented. **

 


23-14549-020

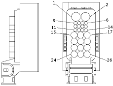
Connector Cavities

Series: CTS630S

Gender: Female

 

CBL OD (MM): 1.2 - 5.3

1,2


23-13214

Series: CTS1.5S

Gender: Female

 

CBL OD (MM): 1.2 - 2.2

3, 4, 5, 6, 7, 8, 9,

10, 11, 12, 13, 14


23-13214

Series: CTS2.8S

Gender: Female

 

CBL OD (MM): 1.2 - 3.3

15, 16, 17, 18, 19, 20, 21,

22, 23, 24, 25, 26


23-13214


23-13214

(Terminal)



23-12497

(Seal)



23-13218-030

(Cavity Seal - Silicon Plastic, White)


23-13218-071

(Cavity Plug, White)


23-13218-007

(Cavity Plug, Gray)


23-13302-628

(Back Shell, Lever Lock)